【大失業時代】全年代で失業者が爆増、雇用大統領が失神w

39

    • 1名無し2019/03/16(Sat) 21:15:11ID:U3MjIyMzY(1/1)NG報告

      史上最多・・・求職断念者58万人、50代の失業者20万人突破 60歳未満の雇用状態は総じて悪化

      先月の就業者数が13カ月ぶりに大幅に増加したが、中・壮年層を中心とした雇用指標は記録的に悪化した。

      16日、統計庁の経済活動人口調査の結果を分析してみると、50代の失業者数は20万6千人で、現在のような基準で失業者の統計情報を作成した1999年6月以来、最も多かった。

      50代の失業者は2017年12月から15ヶ月連続で前年同月比増加を続けた。

      雇用率を基準に見ると、30・40代の状況が良くなかった。先月、30代と40代の雇用率は、昨年2月に比べそれぞれ0.5%ポイント、0.2%ポイント下落した74.9%、78.3%を記録した。特に40代の場合、前年同月と比較した雇用率は13ヶ月連続で下落した。

      一方、60歳以上と65歳以上の雇用率は、それぞれ37.1%、27.9%で、2月の時点では、両方とも2000年の統計開始以来最も高かった。1年前と比較すると、それぞれ1.8%ポイント、2.4%ポイント上昇した。65歳以上の場合、雇用率が2017年9月から今年2月まで前年同月より18ヶ月連続で上昇した。

      先月の求職断念者は昨年2月より4万1000人増えた58万3千人であった。2月基準の求職断念者数は、比較可能な統計を作成した2014年以来、今年が最も多かった。前年同月と比較した求職断念者数は、昨年6月から今年2月まで9カ月連続で増加した。

      経済活動をせず、特にすることもなくそのまま休む人も多かった。今年2月、非労働人口の中で活動状態が「休み」に分類された人々の数は216万6千人で、2003年1月に統計を作成して以降、最も多かった。

      先月の全体の就業者数は2千634万6千人で、前年同月に比べて26万3千人増えた。前年同月比で昨年1月に33万4千人増えて以来、13ヶ月ぶりに大幅増加した。

      政府はサービス業の雇用の改善、雇用事業効果等が就業者の増加幅の拡大に影響を及ぼしたと分析した。

      https://news.naver.com/main/read.nhn?oid=001&sid1=101&aid=0010698618&mid=shm&mode=LSD&nh=20190316135932

      カイカイ朝鮮人の家庭は関係ないんだよな?www

    • 2名無し2019/03/16(Sat) 21:34:00ID:A2NDMyMA=(1/1)NG報告

      >>1
      文在寅がアルバイト職を増やしてくれるよ。
      電気を消すだけに仕事なんて、簡単だし最高だった。

      ご老人向けには草むしりだっけ?
      若者向けには何だろうね。

    • 3名無し2019/03/16(Sat) 21:36:11ID:A0NzM2OTI(1/3)NG報告

      韓国の屋台骨を支える60歳以上の雇用が堅調なので、韓国経済は安泰だ

    • 4名無し2019/03/16(Sat) 21:39:22ID:AzOTM3NjA(1/1)NG報告

      こんだけ失業者が多くて生産性はどうなんだ?
      GDPの統計も怪しいモンだな

    • 5名無し2019/03/16(Sat) 21:40:08ID:IzMzIzMzY(1/1)NG報告

      >>1
      >求職断念者は昨年2月より4万1000人増えた58万3千人であった。

      60万人が仕事も探さずブラブラしてるのかw
      ホモ売春でもさせとけよw

    • 6名無し2019/03/16(Sat) 21:42:48ID:IxNzk1MDQ(1/1)NG報告

      ここで朝鮮語で書き込んでいるやつらって
      韓国のこと、知らな過ぎだよw

    • 7脱亜論2019/03/16(Sat) 21:48:23ID:gyMTc4MjQ(1/1)NG報告

      >>5
      韓国人はプライドだけ無駄に高いから失業中なんて言わない。特に若い奴はね。SAMSUNG目指さして求職活動中とか公務員目指して勉強中って答える奴が山程いる。30歳で

    • 8名無し2019/03/16(Sat) 21:49:57ID:Q4NzI5Ng=(1/2)NG報告

      1日でも働けば統計に入らないから、実際はもっと悲惨でしょうね。

    • 9名無し2019/03/16(Sat) 21:50:20ID:gxMTYyMjA(1/1)NG報告

      >>4
      GDPの為に、借金推奨してたりして。

    • 10名無し2019/03/16(Sat) 21:54:04ID:E4OTAyOTI(1/1)NG報告

      >>8
      公的機関の日雇い乱発は、明らかに その効果が目的だよね。

    • 11名無し2019/03/16(Sat) 21:54:51ID:QwOTAyOTY(1/1)NG報告

      チキン屋の2階をバッカス叔母さんに開放すれば良い

      中国でもそんなのあっただろう。床屋の奥だったっけ

    • 12名無し2019/03/16(Sat) 21:56:05ID:k2Njg3NzI(1/2)NG報告

      >>9
      ベトナムでベトナム人が、ベトナムの経済を回しながら韓国のGDPを上げてるんだと思うw

    • 13名無し2019/03/16(Sat) 21:56:46ID:k2Njg3NzI(2/2)NG報告

      >>11

      チョンの間も韓国だから。

    • 14名無し2019/03/16(Sat) 22:05:41(1/1)

      このレスは削除されています

    • 15名無し2019/03/16(Sat) 22:41:55ID:g5MDg3MDQ(1/1)NG報告

      >>7
      イルベとかここで盧武鉉の画像貼り付けて草生やしてるのって丁度その位だと思うんだよな、現役からしたら10年近く昔のもう過去の人扱いで実感無いだろうし、当時大卒で兵役も終わらせてると考えたら若くても30代半ば以上じゃなかろうか?

    • 16名無し2019/03/16(Sat) 22:49:12ID:A0NzM2OTI(2/3)NG報告

      アンコールワット訪問の文大統領「こんなに大きい王国がなぜ突然衰退したのか」

      それはお前の事だろうが、というツッコミはなしで

    • 17名無し2019/03/16(Sat) 22:52:09ID:kzMzMzNTI(1/5)NG報告

      >>3
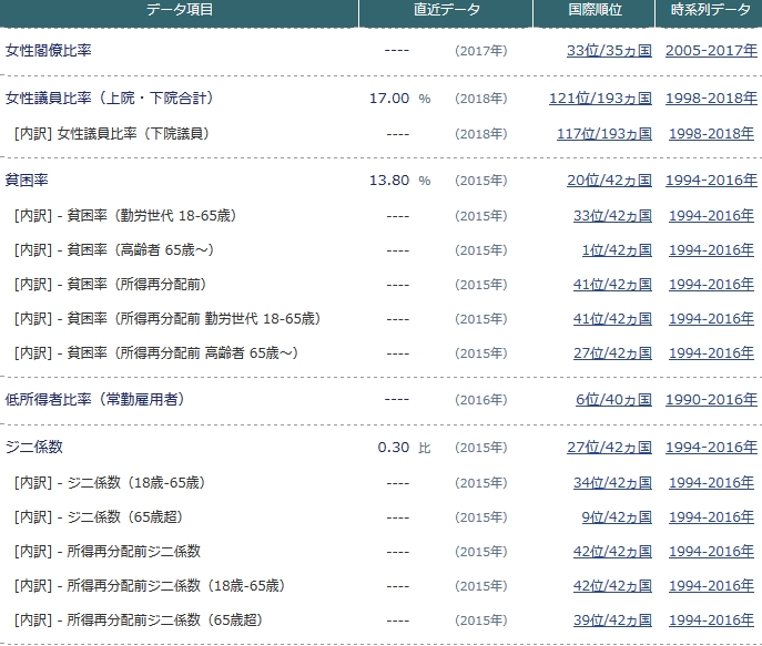
      60代以上の高齢者の貧困率も半端じゃないんだよねw

      まだ制裁前なのにw

    • 18名無し2019/03/16(Sat) 23:01:33ID:I1MTg1NjQ(1/1)NG報告

      >>9
      それ、当たっていますよw

      韓国の報道機関である中央日報によると、韓国の「家計債務」は過去最高の約135兆円
      昨年12月末のデータで国民1人当たりの借金は2600万ウォン(約259万円)を超えた
      また、韓国の処分可能所得(簡単に言えば給料の手取り分と貯蓄)に対する家計負債比率は169.0%らしい
      それでも、家を買え、車を買えなどと、社会が国民を煽って経済を回しているのです

    • 19名無し2019/03/16(Sat) 23:08:35ID:E2MjgwMzY(1/2)NG報告

      >>18

      それに絡む話題でよくわからなかったのが、
      【韓国経済、対外依存度減りサービス産業の比重大きくなった】
      中央日報日本語版  2019.03.15
      https://japanese.joins.com/article/316/251316.html

      >産業構造ではサービス産業の比重が徐々に大きくなっている。

      これって、内需が拡大しているということなのだろうか?

    • 20名無し2019/03/16(Sat) 23:17:58ID:A0NzM2OTI(3/3)NG報告

      >>16
      あかん、やっぱしツッコまれてた

      ムンおじさん、あなたのせいで大韓民国が突然衰退してるんですが見えますか?.....幽体離脱ですか?...
      経済、防衛、外交、社会のあちこち、どの箇所でも正常に戻らず国が崩れていますが、
      他の国の史跡に観光に行って、その昔そこが突然衰退したことを聞いているんですか?...
      共感6591 非共感1712

    • 21名無し2019/03/16(Sat) 23:24:56ID:Q4NzI5Ng=(2/2)NG報告

      >>19
      40代で職失うから、少ない資金でチキン屋とかコンビニを始める人が多いからじゃない?

    • 22名無し2019/03/16(Sat) 23:36:50ID:E2MjgwMzY(2/2)NG報告

      >>21
       ありがとうございました。
       ああ、そういうことなのですね。

      (では、このままだと、パイは小さくなり、腐った部分は大きくなる
      ということなのかな・・・。)

    • 23名無し2019/03/16(Sat) 23:49:10ID:AxMDc3NTY(1/1)NG報告

      糞食って生きる韓国人

    • 24武器商人を自慢するなんて2019/03/16(Sat) 23:49:47ID:Q4MDg4NjQ(1/1)NG報告

      >>20
      まぁ統一したら何とかなると思ってるからそれに全てかけてるんじゃないですか?(^∇^)

      まぁ超大穴の万馬券並みの確率に全財産かけて配当は0.1位の賭けですがね( ^∀^)

      ってかドイツ好きな癖にドイツが統一した時、かなり混乱したこと知らないのかな?しかも、現代で親は弟を溺シさせ、息子は兄を毒サツする一族が統治する国家と捏造嫌がらせ大好き国家が統一なんてまともに機能するわけないのに_:(´ཀ`」 ∠)

    • 25名無し2019/03/16(Sat) 23:54:21ID:E3MzE3OTY(1/1)NG報告

      ここに来ている朝鮮人は上流階級の両班様だから何の問題も無いよ。

    • 26名無し2019/03/17(Sun) 00:07:13ID:AwNTAzMTI(1/5)NG報告

      >>17
      うーん。

    • 27名無し2019/03/17(Sun) 00:09:48ID:A4MDg0NzA(1/1)NG報告

      職に溢れた連中を軍で吸収すればよかろうに

    • 28名無し2019/03/17(Sun) 00:21:35ID:Q2Nzg3NzQ(2/5)NG報告

      >>26
      日本も他人事じゃないんだけどね

    • 29名無し2019/03/17(Sun) 00:24:52ID:AwNTAzMTI(2/5)NG報告

      >>28
      貧富の差や社会保障も含めて考えて行かなくてはならない問題ですねぇ

    • 30名無し2019/03/17(Sun) 00:58:20ID:Q2Nzg3NzQ(3/5)NG報告

      >>29
      高齢化社会をどう乗り切るかで今後の100年が決定するからね

      正直どこまでの低迷に抑えられるかって状況だと思うよ

    • 31名無し2019/03/17(Sun) 00:59:24(1/1)

      このレスは削除されています

    • 32名無し2019/03/17(Sun) 01:04:18ID:AwNTAzMTI(3/5)NG報告

      >>30
      高齢化ももちろんですが、自分は出生率の方が気に成りますねェ

      これから国を支えていく人たちですから。

    • 33名無し2019/03/17(Sun) 01:38:20ID:Q2Nzg3NzQ(4/5)NG報告

      >>32
      ダブルパンチなのは間違いないね

      しかも、どっちも致命傷になりかねないという

    • 34名無し2019/03/17(Sun) 01:50:48ID:AwNTAzMTI(4/5)NG報告

      >>33
      人道的にどうこう言う人もいますが、ある年齢になったら安楽死認めてもらいたいですね。
      そろそろ年金受給の年齢なんですが、これから先どんどん体力も落ちてくるしやりたいこともできなくなるでしょうから、思い残すことがなくなったら、痴呆や病気になる前にお陀仏して、残りの年金はこれからの人に分けていく方がいいなんて思ってます。

    • 35名無し2019/03/17(Sun) 02:09:37ID:Q2Nzg3NzQ(5/5)NG報告

      >>34
      それだと大分先輩でしたね。
      これまでの言葉使いは許して下さい。

      私も安楽死は賛成です。
      排泄に人の手を借りたり、ボケてまで生きていたくないと考えます。

      ただ、法制化するのに何人の政治家が犠牲にされるか分からないですね。

    • 36名無し2019/03/17(Sun) 02:44:04ID:AwNTAzMTI(5/5)NG報告

      >>35
      いえいえネット上で年齢なんて何の意味もありませんので。

      排泄に人の手を借りたり、ボケてまで生きていたくないと考えます。
      これこそ人としての尊厳を守ると言うことだと思いますね。

      自分が学生時代は植物人間が社会的にも問題になっていて、TVなどマスコミでも盛んに取り上げてました。
      今でも印象に残っているのは、苦痛に顔を歪めながらこうなってしまうと自さつすることすらできない。
      人として尊厳のある死期を迎えたかったってね。
      恍惚の人も衝撃を受けた小説でした。

      最近は病気や怪我で入院した場合は本人や家族の同意があれば延命処置を取らない方向になってきましたけどね。
      http://www.nhk.or.jp/gendai/articles/3583/1.html

    • 37右翼の食欲、左翼の性欲2019/03/17(Sun) 05:48:43ID:E0OTg3MjA(1/1)NG報告

      公務員を増やす話はどうなったんだろ?

    • 38名無し2019/03/17(Sun) 09:12:07ID:Y5MDgwNzk(1/1)NG報告

      >>37
      まぁそう焦らず待ちましょう。
      文在寅の目標は国民全員公務員なんだからwww

    • 39名無し2019/03/17(Sun) 10:59:31ID:Y3OTg0NTU(1/1)NG報告

      国民が全て公務員になれば失業者0だね
      まさに地上の楽園

レス投稿

画像をタップで並べ替え / 『×』で選択解除